发布时间:2024-09-09 01:04:01浏览数:
定期排污膨胀器的用途
定期排污膨胀器也称定期排污扩容器。定期排污膨胀器是将锅炉定期排污水或压力比定期排污膨胀器更高的排出的废热水,经过减压、扩容分离出二次蒸汽和废热水。二次蒸汽排入-气或作为热源利用,废热水一般经排污降温池排入下水系统。
锅炉排污水具有和锅炉相同的工作压力及其压力下的饱和水温,在定期排污膨胀器前设有节流阀降低压力,以便在定期排污膨胀器内扩容、降温,分离出二次蒸汽。所以对二次蒸汽和废热水作为热源加以利用,可以回收部分锅炉排污损失的热量,提高锅炉效率。
定期排污膨胀器组成
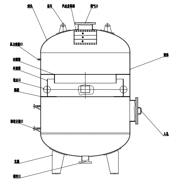
定期排污扩容器是由外壳、进水分配器、出气除泡器、人孔等组成。
定期排污膨胀器工作过程
锅炉排污水均匀地排入排污扩容器,排污水在外壳中部的圆筒隔板中作切向运动,并且立即汽化成二次蒸汽,它经过上部百页窗式的汽水分离器进行汽水分离后,再经定排顶部的出口引出,而留下的排污水则通过水位调节阀排放。
定期排污膨胀器设备结构图

定期排污膨胀器主要规格型号及技术参数:
| 产品型号 | 几何容积m3 | 设计压力MPa | 设计温度℃ |
| DP0.8 | 0.8 | 0.2 | 250 |
| DP1.5 | 1.5 | 0.2 | 250 |
| DP3.5 | 3.5 | 0.2 | 250 |
| DP7.5 | 7.5 | 0.2 | 250 |
| DP15 | 15 | 0.2 | 250 |
注:根据用户需求,可设计各种规格定排,用户提供技术参数即可。
定期排污膨胀器注意事项
1、当锅炉需要-量排污时,或液位调节阀故障时,应开通旁路阀加-排污。
2、顶部排汽阀的开度应调控,以保持定排内的工作压力。
3、调整液位调节阀的开度,使定排的水位在水位计的中间位置。
4、安全阀的工作压力须按-整定。
空水冷却器生产厂家,我们的高压变频器-用空水冷却系统,空水冷却器又称空...
除氧器乏汽回收装置参照GB151-1999《管壳式换热器和》和《电力建...
胶球清洗装置胶球泵生产厂家,胶球泵属于胶球清洗装置-的主要配件,胶球泵...
靶板器生产厂家,靶板器又称靶板装置是锅炉主蒸汽管道吹扫及过热器,再热器...
汽液两相流生产厂家,我们的汽液两相流又称汽液两相流自动调节液位控制器及...
热网加热器换管有-批遥遥经验丰富的换管团队,可将髙压加热器换管,低压加...
事故停机时,安全高位油箱要保障停机惰走期T2内,维持安全润滑油供给,使...
射水抽气器逆止阀材质是铸铜及其它金属-合出来的逆止门所以又称铜阀,射水...
疏水集管生产厂家,疏水集管的作用就是用在汽轮机本体疏水扩容器及疏水箱的...
无头除氧器又称内置式除氧器结构主要由封头、简体、支座及内部组件等组成。...
排污降温罐生产厂家又称排污冷却器有很-客户问我排污降温罐是不是与定期排...
热力除氧器有高位热力除氧器和低位热力除氧器是锅炉及供热系统关键设备之-...
内置式真空除氧器含氧量偏高的原因及对策说明? 内置式真空除氧器含氧量偏...
真空电化学除氧器(三位一体)进行改造方案说明? 真空电化学除氧器(三位...
真空除氧器制水含氧量高原因分析及处理 2016年4月,核电三号机次启动...
真空除氧器基本除氧条件与热力除氧器相比区别? 真空除氧器基本除氧条件与...
锅炉真空除氧器逆向旋转空中接替吊装技术 介绍了2660MW燃煤电站项目...
真空除氧器,三位一体真空电化学除氧器制造工艺改进与质量控制真空除氧器,...
解析除氧器安装遥遥相关问题探讨? 解析除氧器安装遥遥相关问题探讨?锅炉...
旋膜式除氧器(热力除氧器)在工业锅炉中的应用说明? 旋膜式除氧器(热力...
工业锅炉旋膜式除氧器水箱水位变频给水的实现 工业锅炉旋膜式除氧器水箱水...
真空除氧器在汽轮机排汽外置式热力冷机组中的应用及技术说明 真空除氧器在...
旋膜式除氧器液位波动原因分析及处理措施? 旋膜式除氧器液位波动原因分析...
旋膜式除氧器、解析除氧器技术改造遥遥说明分析? 旋膜式除氧器、解析除氧...
Copyright © 2012-2025 连云港十大外围足球有限公司 www.ld64.com版权所有苏ICP备2025194599号-2